专注高端智能装备一体化服务
认证证书

【爱游戏(中国)机械】折弯件的孔到折弯边的最小距离!

  • 点击量:
  • |
  • 添加日期:2021年12月08日

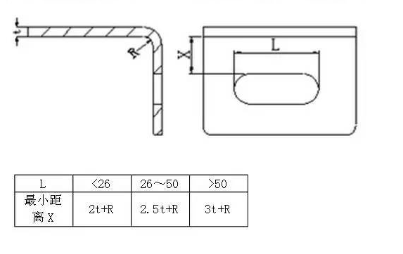
折边处属于板材变形,其周围的孔易受影响变形, 折弯件的孔到折弯边的最小距离应按照以下要求: 

1当孔为圆孔和垂直于弯曲方向的长圆孔时,圆孔边与折弯线要求大于最小孔边距X≥2t+R(2.5mm板厚(含)以下,R值为0.5)、 X≥3t+R(2.5mm板厚以上,R值为1);

image.pngimage.png