通过吞咽,可在人肠道内以螺旋方式行走的胶囊医疗微型机器人的研究有了突破性进展。我国科学家目前已研制出样机,并在离体猪肠中取得良好的实验效果。
体内介入检查与治疗具有安全、微创等优点,并迅速成为医学工程领域的主流。人们研制出的微型消化道胶囊内窥镜是利用消化道蠕动进行整个区域检查,由内嵌CMOS微型摄像机以无线方式传输检查图像。但其行走缓慢,存在视觉盲区;错过病变组织时,不能主动返程,使一些医疗作业无法完成。因此研制可吞咽并能通过体外无缆驱动控制的胶囊机器人十分必要。
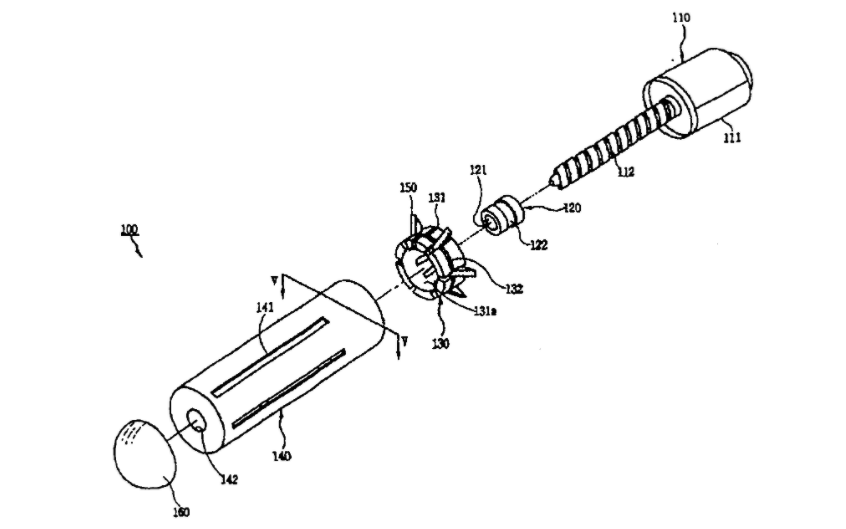
通过不断地技术攻关,大连理工大学机械工程学院现代制造技术研究所副教授张永顺等提出了外旋转磁场驱动的一种基于新型驱动原理的变径螺旋结构胶囊机器人样机,在径向间隙自补偿和多楔形效应原理的作用下,显著提高了流体动压膜的压力和在肠道内的驱动能力。实验表明,该机器人可实现在猪肠道内垂直游动,提高了在肠道内的适应能力,为实用化奠定了基础。
目前,该研究已经取得了突破性进展,并完成了微型化的研究,机器人达到可吞咽的外形尺寸,实验效果良好;同时为了实用化,研究小组正在进行胶囊机器人在弯曲环境内驱动关键技术的研究。
该项目的最终目标是通过体外无缆控制,由机器人实现窥视、诊断、施药、取样等介入治疗,有广阔的应用前景,对医学工程发展具有重要意义。
