1前 言
离心泵是典型的高速旋转设备机器,通过由膜片联轴器将原动机、从动机联接起来,有些中间需要液力偶合器等联接。因此,对于大型高速旋转机组其重要工作是设备转子之间的联接找正工作,采用传统的打表安装找正方法,往往要耗费大量的人力和物力。随着科学技术的发展,近年来激光对中仪在安装找正中使用越来来多,具有方便、快速、准确、高效等特点。
2激光对中仪的结构、基本原理和使用过程
2.1激光对中仪的结构
D505型激光对中仪主要组成:激光发射器(探测器)、激光反射器(接收器)、1 个D 279 显示单元(包含14 个测量程序)、2 套延长杆、2 个V 型安装支架、2 套安装链条、2 个磁力表座、2个偏移块和2根带快速接头电缆(2m)等,如图1所示。其中激光发射器、激光反射器分别安装在固定设备轴上的测量单元S和固定在可移动设备轴上的测量单元M。

图1 激光对中仪组成部分
2.2激光对中仪的基本原理及与原始打表找正法的对比
激光找正仪的测量原理与传统的单表找正法(翻转法)原理相同,如图2(B)所示。激光发射器阴极管内充满氦气和氖气,通过高电压激发出相应波长的光波,通过两端透镜和反射镜的反复作用,只有平行于中心线的光束被发射出去,形成激光。Easy-Laser D505型激光对中仪激光接收器采用先进的PSD定位技术,在感应面的两端加适当电压,激光打到感应面的不同位置则会在两端产生不同的电流,其分析的是模拟量,理论上讲模拟量的精度是无穷高,因此大大提高了测量精度。探测器测量和读取的是激光的能量中心。如果激光有部分照射到靶区之外,能量就会部分损失,因此在测量时必须保证激光束全部打在探测器内。最后通过设计好的计算程序将计算结果以数据和图型在显示单元的屏幕上给出,并自动给出可调整设备的前、后地脚下相应垫片的调整值。
面背百分表,如图2(A)所示该方法是轴对中的标准做法,直到今天很多没有激光对中仪的单位仍然使用该方法。该方法用联轴器背部读数差来确定位移,用端面读数差来确定角度。该方法的主要缺点是:表架的挠度原因,长跨距的轴对中无法作;当跨距小于100mm时,一般需要塞尺配合才能确定角度偏差;每调整一次都需要重新测量;当有轴向窜动时该方法无法使用。
单表法找正,如图2(B)所示该方法是利用百分表测量联轴器的外圆,两个转子的联轴器外圆都需要测量,即将一块百分表架固定在固定设备轴上测量可移动设备轴上的联轴器外圆。而另一块百分表架固定在可移动设备轴上测量固定设备轴上的联轴器外圆,这种方法用上下左右的端面读数差来确定上下左右的位移,但一般来说,两表的读数差是不同的,结合两表的轴向距离,就可以算出角度偏差来。这种方法的最大优点是位移,角度一次读出。但缺点是当两表的轴向距离小于联轴器直径时,角度的精度就比较低。
激光找正法中如图2(C)所示S单元与M单元分别替代百分表并固定在联轴器的两侧,根据相似三角形几何原理输入相应数据,操作完成后显示单元将自动计算出平行偏差和角度偏差,其水平和垂直位置用图像、数字显示出来。并自动给出可调整设备前、后地脚下相应垫片的调整值。

图2 打表找正法和激光找正法
3 激光找正仪在安装中的使用过程
激光找正一般是在冷态中找正,操作过程 简单、方便、快捷,主要找正步骤如下:
(1)安装固定测量装置。首先安装带链轴支架,然后安装固定设备侧激光发射器和可移动侧激光反射器,最后连接2根数据连接线。
(2)启动测量系统。按下启动按键进入程序列表,先进入软脚测量程序(13),将激光对中仪转到l2点钟位置调整激光束尽量打到靶心,打开目标靶,依次松开和拧紧地脚螺栓,最后显示所有软脚的结果,按程序给出的数据调整垫片。
(3)粗略对中。首先将轴转到9点钟的位置(面对调整端左手边为9点),将激光束瞄准封闭目标的中心位置,其次转到3点钟的位置,检测激光击中目标的情况,最后调节可移动机器,以便激光的光束击中两个目标的靶心,测量前打开目标靶。
(4)输入间距。水平程序要求测量装置、联轴器和机器机脚之间的距离,如图3所示,使用数字键输入间距并确认。

图3 离心泵机组找正示意图
(5)测量程序。采用时钟水平机械对中程序(11),将轴分别转到9、12、3点钟的位置并确认,通过将轴转动180 °以达到测量目的 。
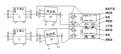
(6)显示测量结果。移动机器的水平和垂直位置将用图像、数字显示出来,如图4所示。

图4 显示测量结果
(7)根据测量结果通过调整地脚垫片,使最终测量结果达到设备安装误差允许范围之内,并保存测量数据结果。
4离心泵找正中的应用实例
以我单位动力部调速锅炉给水泵修理找正为例。该机组电动机和多级泵是通过GWT58无极调速型液力偶合器联接传递动力。机组联轴器找正还要求预置热膨胀值偏差。以往采用打表法找正,需要做找正专用支架,由于跨度大表架的挠度原因,往往找正过程漫长,费时费力,找正结果误差无法保证,导致机组开车后振动偏大或运行周期达不到修理要求。
近两年来,我单位修理该机组时则采用D505型激光对中仪进行找正。由于激光对中技术精确,操作方便,不但大大提高工作效率还能有效地保证设备运行周期。以图3中的液力偶合器和电动机间的联轴器找正为例,进行详述激光对中仪在找正过程中的应用。以液力偶合器为设备基准,固定S单元;电动机为可移动设备,固定M单元;C点为联轴器中心;F1、F2分别为M单元的电机前、后地脚支承点。按照使用过程中步骤分步操作,图3中各点输入间距的距离数据见表1。

第一步进入软脚测量程序(13)。将激光对中仪转到l2点钟位置调整激光束尽量打到靶心,打开目标靶,依次松开和拧紧地脚螺栓,最后显示所有软脚的结果。如图5所示,电机存在软脚,根据数据将0.23点处地脚加0.2mm垫片,将0.12点处地脚加入0.1mm垫片,即消除电机软脚。(测量4个点的差值大于0.05mm即存在软脚)。

第二步进行粗略调整。首先将轴转到9点钟的位置,将激光束瞄准封闭目标的中心位置,其次将轴转到3点钟的位置,
检测激光击中目标靶的情况,最后调整电机,以便激光的光束击中两个目标的靶心。
第三步进入时钟测量法程序(11)进行测量。将轴分别转到9、12、3点钟的位置测量数据并确认。然后再按6键进行预置热膨胀值偏差输入,按要求液力偶合器联轴器比电机联轴器垂直方向上在室温30℃左右时低0.25-0.30mm。在热膨胀值程序内选择如图6中所示程序,并输入0.25mm膨胀偏差值,按确认键操作完成后,最后测量显示结果如图7所示。
第四步按图7中测量结果进行调整,在垂直方向上电机前地脚增加0.25mm垫片,电机后地脚增加1.40mm垫片。在水平方向上电动机前地脚向右顶0.04mm,电机后地脚向左顶0.71mm。(面向电机区分左右)。调整结束后按9键再进行一次时钟法测量,最终测量结果如图4所示,数据满足找正要求。判断测量结果是否在允许范围之内,可以在程序中查找通用标准要求,该机组工作转速为2980r/min ,将平行偏移量控制在0.05mm,角度偏移量控制在0.05mm/100 mm之内即满足要求。
第五步按菜单键选择10进行测量数据保存,以供以后找正参考。找正过程全部结束,试车后最大振动在0.03mm以下,机组运行正常。

图7显示测量结果
5激光对中仪在找正中的不足
激光对中仪在室外有阳光直接照射到探测器的PSD表面或有强烈的电焊光照射时以及环境温度过高或过低时等,有可能得不到精确稳定的测量结果。
6 结束语
实践证明激光找正过程时间短、快速、方便和准确。工作效率明显提高,减少大量繁琐工作和打表找正误差,提高找正精度,可降低设备能耗,大大提高设备运行经济效益,延长设备维修周期。由于激光找正技术精度高、快速、方便等优点,使其在设备找正中具有广泛的使用前景。