专注高端智能装备一体化服务
认证证书

【爱游戏(中国)机械】五轴联动加工叶轮的铣削加工方法

  • 点击量:
  • |
  • 添加日期:2022年08月11日

image.png


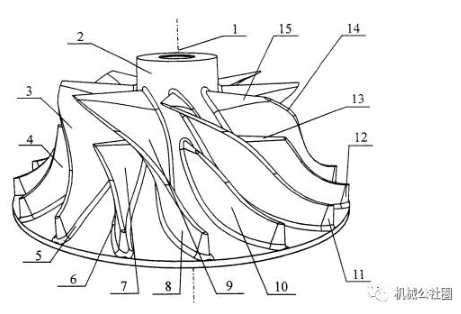
①输入压气机叶轮叶型数据;

②毛坯的装夹;

③五轴数控编程;

④数控程序的仿真模拟后置处理G代码;

⑤五轴数控加工;

⑥三坐标测量检测;

⑦加工成品。


image.png

image.png

有益效果:采用此工艺,加工时间由48小时缩短为16小时,叶片型面轮廓度误差≤0.1MM,成本低,效率高。

image.png

image.png