内燃机车增压器是机车的核心部件,增压器在工作时,其转子的转速在30 000~40 000 r/min,而增压器核心部件是其转子部分,主要由主轴、轮盘叶片、轴承套、叶轮和主轴螺母(见图1)等部分组成,因高温、高转速的工况,对其转子部件的加工精度要求也非常高,其中主轴螺母是主轴和叶轮锁紧定位的部件,紧固时其端面会受到很大压力,如果端面相对于螺纹垂直度不好,就意味着紧固时主轴螺母端面和被联接的叶轮面接触不均匀,容易在主轴螺纹头部形成附加弯矩,这对于主轴疲劳强度有很大影响,甚至会导致主轴螺纹“掉头”的质量事故发生,在增压器转子高速旋转中也会直接影响转子的动平衡稳定性。因此,主轴螺母的设计图样对于其端面相对于螺纹的垂直度严格要求,因主轴螺母的螺纹形状复杂特殊,螺纹又在主轴螺母的盲孔中,螺纹的检测比较难,国外有专业的螺纹测量技术公司推出不少专业的螺纹测量仪,但能检测盲孔内螺纹的装置却非常少,并且这些测量仪造价不菲,购置成本很高。
有一些通用的测量设备如三坐标测量仪、光学测量仪也有相关的螺纹测量功能,但都不够专业且精度也不高。例如:三坐标测量仪按理论螺距沿螺旋槽取点建立轴线,但测球探不进沟槽内部,测量精度不高,检测过程比较麻烦。光学测量机一般用于两头带中心孔的轴类零件的检测,对主轴螺母的内螺纹无法形成投影,也就无法检测。

图 1
机车增压器主轴螺母盲孔螺纹垂直度检测装置如图2所示,这种新型检测装置具有结构简单、成本低、操作简单、检测效率高及检测精度高的特点,解决了机车增压器主轴螺母盲孔螺纹垂直度无法检测的问题。
电化学方法乳液聚合甲基丙烯酸甲酯的制备和表征······································张剑秋 付凌霄 陈 龙 张胜佳 (6,925)


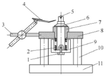
图 2
1.防松螺栓 2.压簧 3.测表支架4.杠杆千分表 5.顶珠 6.旋转轴 7.基套8.基座 9.锁紧螺母 10.支撑柱11.底板 12.主轴螺母
该装置使用方法是将主轴螺母拧紧到旋转轴上端螺纹,利用顶珠顶到主轴螺母盲孔底面中心位置,保证主轴螺母的螺纹与检测装置旋转轴螺纹保持自由锁紧状态,调整测表支架保证杠杆千分表的测针与主轴螺母的被测端面接触,并使测针压紧0.1~0.2mm,然后旋转锁紧螺母带动旋转轴转动,其中压簧保证了基套与旋转轴的轴肩保持紧密接触、轴向无窜动,此时旋转360°,杠杆千分表所显示的变化量就可以测量出主轴螺母端面跳动,由于主轴螺母端面是环带,跳动近似等于垂直度,经计算验证误差小于0.005mm,可以直接作为主轴螺母的螺纹轴线与端面的垂直度使用。
检测装置部件加工注意事项如下:
计算出最邻近指数,地理集中指数,基尼系数和不平衡指数,采用ArcGIS10.3空间分析工具的功能和Eexcel统计软件分析了新疆A级旅游景区的空间分布的特征。
(1)基套的上端面与内孔保证垂直度0.005mm以内,表面粗糙度值Ra<0.8μm。
(2)旋转轴的轴肩和外圆部位保证垂直度0.005mm以内,表面粗糙度值Ra<0.8μm,旋转轴应采用双顶尖磨削加工,并保留上端中心孔完好。
(3)顶珠选用8mm精度G10以上的钢珠,检测时顶珠放于旋转轴上端中心孔内,保证顶珠高于旋转轴上端面。
(4)基套与旋转轴采用间隙配合,配合间隙保证在0.01~0.02mm。
采用直接在家具成品上测试时,要选取家具中的主要面层,要求可检测面部位表面平整,无鼓泡、划痕、褪色、皱皮等缺陷。
机车增压器主轴盲孔螺母螺纹垂直度检测装置具有结构简单、成本低、操作简单、检测效率高及检测精度高的优点,利用顶珠顶到主轴螺母盲孔底面中心位置,保证主轴螺母的螺纹与检测装置旋转轴螺纹保持自由锁紧状态,旋转一周用千分表测量。该装置解决了机车增压器主轴螺母盲孔螺纹垂直度无法检测的问题,有效降低了机车增压器的故障率。