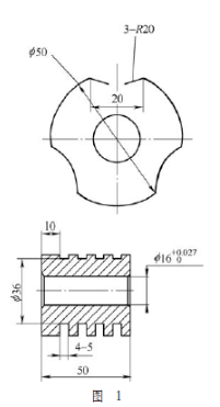
某产品零件轴套( 汽车尼龙齿轮中的镶件),圆周分布3处R20mm圆弧,如图1所示。该圆弧在尼龙齿轮工作时可防止轴套转动,以往加工该圆弧多采用铣床,将零件夹在分度头上,用φ 40mm立铣刀加工,分度时费时又费力,不仅效率低,还影响生产周期。为解决这一难题,设计了一套车床夹具,将铣圆弧加工改为车圆弧加工,效率提高4倍以上,满足了生产急需的要求。
1. 车床夹具的结构及工作原理
车削圆弧使用的车床夹具如图2所示,在圆形夹具体上分布4个定位销,工件套在其上面。为防止车第一个圆弧时工件转动,在工件上用钻模钻φ2.9(+0.1 - 0) mm工艺孔,如图3所示,φ2.9(+0.1 - 0)mm工艺孔套在φ2.8(0 - -0.015)mm圆销上,限制工件转动,用带肩螺母压紧后车削工件上第一个圆弧,保证尺寸为φ40 (+0.1 - 0) mm。然后,松开带肩螺母,旋转工件,把已车过的圆弧与φ2.8(0 - -0.015) mm圆销贴紧,如图4所示,达到分度圆弧角度和车削时防止工件转动的作用。拧紧螺母压紧工件后,再车第二个圆弧,以此类推,这样就完成了4个工件3处R20mm的车削过程。


2. 定位销位置的确定
根据工件受切削力后绕定位销逆时针旋转的情况, 考虑φ2.9(+0.1 - 0) mm工艺孔要在后续车削圆弧时加工完成,为了不影响工件的最终外形且符合图样要求,并考虑圆弧的面积及工艺孔的大小等因素,最终综合分析后,确定圆销位置为(22±0.02)mm和(7±0.015)mm,如图4所示。

3. 结语
该车床夹具不但解决了铣圆弧效率低的问题,而且解决了圆弧加工时的测量问题,还实现了多件装夹、多件加工,大大提高了生产效率。经实践证明,该夹具使用方便且性能稳定,受到操作人员的一致好评。