1展开方式要合理,尽可能减少不必要的工序及加工的方便性.考虑实际加工工艺,合理安排加工工序,(孔与折边距离,压铆加工工艺,焊接加工工艺等,以上情形要考虑加工顺序的安排)
2合理选择间隙及包边方式
间隙及包边方式的选择一般原则为:长边包短边,间隙根据板厚不同取值不同,一般为0.2~1.0mm.
3必须合理考虑公差,
图面公差标注有如下几种:
A±a(公差不考虑),A0+a (不喷涂件,氧化件不须考虑走公差,喷涂件必需考虑走公差),A0-a(必须走公差),A+a-a(走平均公差)
4对于门板类及盒体必须考虑毛刺方向
对于该类零件的展开,必须要考虑毛刺,达到折弯后毛刺向里,对于一些大门板类零件设计时如未考虑烤漆掉挂工艺孔,而该零件又无其他孔,在展开时考虑加开掉挂工艺孔.
5抽牙,压铆,冲凸,撕裂等位置方向必须明确,画出剖面图,
6.对于图面上不同孔径的孔为了加以区别应该在图面上用字母分别标识,不同孔径采用不同的字母,
7必须选择合理的刀具
8考虑烤漆及喷粉膜厚.
9尺寸标注规范化,齐全,清楚,压铆类标注需统一规范化.
尺寸标注规范化:在任一图面绘制好尺寸标注前都要对尺寸标注比例进行设置,设置公式为AXP=1(A>0,P>0.P为设置值既overall scale值为P),尺寸文本字高为3.
10材质,板厚要与表达方式相结合
11选择合适的图纸幅面.
12.特殊角度折弯系数及内R角变化要试验确定.
13部分尺寸较多的地方可画出放大图以便清楚表达.
14.易出错的地方需重点提示,如不对称零件可在展开图上画出折弯示意.
15对于需保护的地方要加以表示.
16拉丝件要标明拉丝方向.
17.所有折弯示意图按标准一视角放置(即按我们的新图框)毛刺面向里,不要因为放不下而改变放置位置, 可适当调节比例和选择图框,使得整幅图面的排版美观,整洁.所有折弯示意图不可相交.



18.标注尺寸时尺寸线要整齐,统一. 尺寸线的尺寸基线点应标在图形的端点,以免造成现场识图错误.

上图中的a很明了,清楚的表达了实际的图形,而b中的尺寸基线点没在图形的端点,容易造成B区的图形不清楚.尺寸线也不整齐.
19.碰到有些特征较多的图形,尺寸线会比较密集,这种情况下最好换用大的图框(A3的图框)

20.折弯示意图尺寸的标注要统一,不要内外兼标,特别是同一样的折弯长度,不要纵向标内,横向又标外,这样容易造成现场识图错误,所有规则90°角的折弯尺寸标注外尺寸,不规则角标内尺寸.

21.有些折弯边上的特征离折弯边太近,为了避免它们(下图为方框)不变形,而改槽或别的工艺都不理想的情况下也可以适当的开释放槽以减小应力,释放槽开放的位置是内折弯尺寸线上,释放槽的大小依实际情况而定,当然是越小越好,以免影响美观.

如上图,释放槽的长度可以为c,h可为镭射割线的宽度
22.工艺孔的开立
为了考虑零件的外观,使得折弯边相交的地方不出现挤料,多料的情况,工艺孔是很重要的,
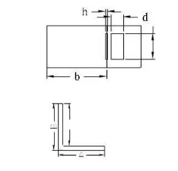
1).以最常见的长边包短边形式加以说明,工艺孔的形状一般为圆孔和方孔,大小为板厚的1.5倍(当然尽量选用已有刀具),位置是在包边上,如下图(圆孔的例子),注:c的尺寸也是很重要的,一般为:c≥B+T(板厚)-α(折弯系数)+间隙
( 0.2~1.0mm).

eg: 板厚T=1.5 A边包B边, 则:工艺孔的位置为a=0.5, b=0.5, 大小为Φ2.5, Φ2.0也可以.(一定要大于板厚) 2).对接的情况开在交点上即可, eg:板厚T=1.5 , 则工艺孔的位置是:a=0, b=0, 大小为Φ2.5,Φ2.0也可以.
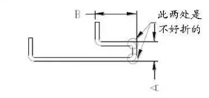
23.图中的两处折弯有待用现场刀具去试验确定,多数是无法折弯的,这种情况下只能考虑开模或别的加工.

24.改槽的工艺

1) 当某些特征离折弯边太近时,会造成这些特征变形,所以采用改小槽的形式可以缓解变形或者用标准槽折弯然后
再增加扩孔工序,当然能改小槽避免变形的就不要增加扩孔工序(注:如果同一个零件有多刀改小槽时,尽量改用同一种小槽折弯,这样可以减少现场的操作时间).eg:在上图中,当L≤1/2V+0.5时, 需改小槽折弯,V为标准槽宽(6T). 改小槽时还需注意一下系数的变动,一般是槽宽改小1V,系数则由标准槽的系数减0.1,改小2V,则系数由标准槽的系数减0.2.以此类推,一般只能改到4倍的板厚,当然不包括特殊情况.

2) 当H≤1/2V时, 需要改小槽折弯或加长折弯尺寸然后再铣到所需的A 尺寸(尽量少用加铣的工序因为这样太麻
烦又增加成本),V为标准槽宽(6T).
25.所有需下料的图形均统一放在零层,用白线表示出来,以便编程人员区分,如果想便于我们自已绘制区分的话,可以用不同颜色的字母表示
26.遇到组焊及需要拆分的零件展开时,要重视开定位孔(方孔,圆孔)都可以,这样便于现场制作,也保证了产品的尺寸和质量.
27.展开的最大尺寸不能大于板材的长宽,不要展出来的图形比板材还大,如果碰到比板材大的图形,则要与工程师讨论,拆开,然后再焊接在一起,板材的规格包材仓库有.
28.需要下料的图形不允许有断线,重线.