摘要:电子焊接生产中有较多两人合作才能完成的情况,比如插头/插座焊接,需要一人拿着插头/插座,另外一人拿着电线完成焊接。电路板焊接也经常出现翻转、移动等操作以求得到较好工作位置的情形。因此,设计一种电子焊接生产辅助机械手臂以及末端夹具,能够夹持被焊接件,其末端位置、姿态能够被操作者轻松变动,同时该位置能够很好保持,具有一定阻尼,满足操作者焊接需求。
在电子焊接小批量生产过程中,某些工艺需两人配合才能完成,比如插头/插座焊接。操作者A拿着插头/插座,操作者B拿着焊枪和电缆线完成焊接。操作者A根据焊接位置变换和操作者B的要求改变方位。另外,在电路板焊接过程中,电路板需要经常翻转或者变换一定姿态以方便操作者完成焊接动作。现在普遍采用电子焊接辅助工作台,如图1所示,用两个夹子将电路板固定,但其翻转角度和位置有限。
设计一种电子焊接辅助机械手臂,具备的主要功能是其末端能够很好地夹持住插头、插座、电路板等。操作者能够很方便地改变其位置、姿态。同时,整个机械臂具有一定可调校的阻尼,这样在焊接操作过程中,被焊接件不会轻易移动或者是转动。

图1 电子焊接辅助工作台
整个设计过程参考了现在比较普遍的电脑显示器支架相关结构。主体机械臂具有5个自由度,能够满足末端夹持机构的上下、左右移动以及翻转。末端夹持件会经常变换,因此,在机械臂末端设计一个可以快速更换结构。
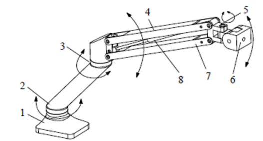
如图2所示,该机械臂包含5个自由度,第一关节、第二关节为两个平行的转动关节,实现整个机械臂在水平面的大范围调整。第三关节为平行四边形机构的转动关节,相当于人手臂的肘关节,可调节末端夹具的位置。平行四边形关节的优点是可增加结构的刚度,减小变形,提高机械臂的运动精度。当只有第三关节运动的时候,末端夹具只做平移运动,可以保持其姿态不变[1]。第四关节做水平面摆动,第五关节做上下摆动。该机械臂可保证末端夹具被移动到需要的位置,并调整至需要的姿态。

1.底座 2.第一关节 3.第二关节 4.第三关节上支臂 5.第四关节6.第五关节 7.第三关节下支臂 8.气弹簧
图2 机械臂主体结构
电子焊接辅助机械臂另外一个重要的功能是在末端夹具调整至需要的位置和姿态后,能够自保持,具有一定阻尼。这样,操作者在完成焊接动作的时候,整个机械臂不会晃动。
工业机器人控制系统通常是以单轴或多轴机器人的运动协调控制为目的。其每一个关节都有一个伺服机构,多个独立的伺服系统组成一个多变量的控制系统[2]。这样便能实现机械臂末端位置控制与保持。但是电子焊接生产辅助机械臂一般需要固定在焊接工作台上,占用空间必须小,操作方便。因此,位置保持功能采用机械结构实现,主要思路便是在各个关节增加阻尼机构,关节转动的时候需要一定的外力,操作者焊接过程所施加的力不足以让机械臂各关节产生运动。
第一、第二、第四、第五关节采用塑料套筒/垫片+紧定螺栓方式。
举例说明,如图3所示,第三关节、第四关节采用螺栓连接,但是在第四关节上下面分别开了一定深度的沉孔。刚好可以放入一个垫片,该垫片采用塑料制作,具有一定柔软度。塑料垫片可以增加两个关节之间的摩擦,通过调整螺栓松紧度来调节关节之间的阻尼大小。

1.第三关节 2.螺栓 3.塑料垫片 4.第四关节 5.螺母
图3 采用塑料套筒/垫片+紧定螺栓连接关节
第三关节主要作用是调整机械臂的高度,同时也要具备保持位置的功能,即类似轿车后备箱“随意停”功能,采用气弹簧实现。气弹簧又被称为支撑杆、调角器、气压棒或阻尼器,是一种具有支撑、缓冲、制动、高度调节和角度调节等功能的配件。该配件在医疗设备、汽车、家具、纺织设备、加工行业等领域被广泛使用。气弹簧主要有自由型气弹簧、自锁型气弹簧、自平衡式气弹簧、牵引式气弹簧、阻尼器等类型[3]。
该设计在第三关节上支臂和下支臂之间设置自平衡式气弹簧。自平衡式气弹簧在活塞杆受压达一定值时可打开气阀,活塞在缸筒自由运动,当活塞两端压力平衡时通过弹簧力使气阀自动关闭,活塞停留,达到自平衡。上支臂、下支臂、连接头构成转动的四连杆机构,调节机械臂高度位置时,在自平衡式气弹簧的作用下,末端夹具可在任意高度位置上自由停留[4]。
机械臂本体可以实现位置、姿态调节功能,而末端手爪便是夹持需要操作的零/部件。
本文以电缆插头/插座夹持手爪为例。设计手爪机构时应该考虑以下几个方面的因素:①应该有适中的夹紧力,既能准确抓取,又能保证物品不损坏;②两手指之间应该有足够的移动范围,张开的时候能够满足最大物品的直径值;③应该有一定的强度和刚度;④适应不同尺寸,具有抓取自适应性,并保证抓取物品时自动对心;⑤结构紧凑,质量小[5]。
机械臂本体具有5个自由度,为了更加方便地实现末端手爪姿态调节,需要加上一个转动关节,类似人手的腕关节,末端手指的开合由人手调节。由于需要夹持的有电缆插头/插座,也有比较宽大的电路板,因此,手爪根部需要设计一个能够更换夹头的结构。
中国农业大学赵延军[6]在苹果果袋摘除机械手爪研究中采用丝杠和滑块为主要运动部件,丝杠左右两侧分别为左旋和右旋,旋向不同。这样,当电机运动的时候,可以驱动左右两个分离机构同时靠拢或者分开,达到夹紧/松开的目的。该机械手爪对本文具有借鉴意义。
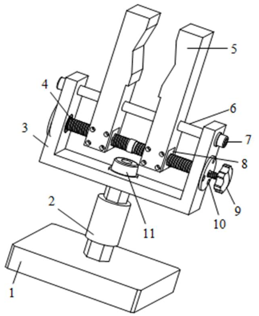
如图4所示,末端手爪包含底座、快换接头、U型座、双向丝杠、顶盖、调节旋钮、导杆、轴承、夹块等组成。底座采用钢材料制成,其主要目的是配重,因为前端第三关节采用的自平衡式气弹簧,需要一定的载重才能实现“任意位置停留”的功能。底座和末端夹爪之间借用常见结构的“自锁快换气动接头”,如图5所示,在公头和母头连接之间加上塑料垫片,目的是加大两者相对转动的阻尼。该结构在实现“快速更换”功能的同时,还可以为机械手爪增加一个旋转自由度。底座和快换接头之间、快换接头和U型坐之间均采用螺纹连接。
快换接头两端外面均是六角头形式,在底座上表面和U型座下表面都与之对应开有六角凹槽,快换接头两端都陷进底座、U型座2 mm,这样末端夹爪转动时不会带动连接螺钉转动。

1.底座 2.快换接头 3.U型座 4.双向丝杠 5.夹块 6.导杆 7.螺钉 8.铜块 9.旋钮 10.顶盖 11.螺钉
图4 用于夹持电缆插座/插头的机械手爪

图5 添加塑料垫片的快换夹头
U型座和夹块采用铝制成,导杆和双向丝杠采用钢材料制成。U型座开有两排平行孔,下端孔用于安装轴承,轴承外圈由端盖顶住。按螺纹副摩擦性质的不同,丝杠分为滑动丝杠、滚动丝杠和静压丝杠三种,本文选滑动丝杠[7]。双向丝杠为阶梯轴,两边阶梯用于顶住轴承内圈。右边延伸一定长度用于安装旋钮。上端孔用于安装导杆,导杆通过螺钉固定在U型座上。夹块和丝杠中间采用铜块连接,铜块和丝杠螺纹连接,铜块和夹块采用螺钉连接,增加铜块的目的是延长其使用寿命。由于该夹爪张合频率并不高,因此,导杆和夹块采用小间隙配合。为了抓取不同直径大小的物体,夹块设计有三角钳口,钳口角度为120°。
设计了一种电子焊接辅助机械手臂,该机械手臂能够轻松调节末端被焊件位置和姿态,同时具有一定阻尼,能够保持位置,满足焊接动作的需求。整体结构如图6所示。

图6 电子焊接辅助机械臂整体结构
末端手爪属于夹持式,两个夹块由双向丝杠驱动,双导轨导向并加固,导轨和丝杠的轴心线位于同一平面,操作者通过旋钮转动双向丝杠,丝杠副和双导轨的导向作用将转动变为平动,实现夹块的开合,并抓取被焊接件。
根据被焊接件的不同,可以设计不同的末端夹爪,通过“快换结构”实施更换。辅助机械臂通过底座连接在工作台面上,占用空间并不大,帮助操作者很方便地实施电缆插头/插座、电路板焊接。为了实现任意位置保持的功能,整体结构增加的阻尼措施也为其他机械手臂的设计提供参考。