薄壁壳体传统的加工工艺一般为制作复杂专用工装夹具,放于车床或加工中心进行分序多序加工,分别对工件两端进行粗加工,然后以一端粗加工过的内腔为基准,进行定位,精加工另一端,设计、布置夹紧压板,进行手动装夹,再利用加工中心镗铣另一端和内部尺寸,共需四序完成。工件加工尺寸如图1所示,由于壁厚<10mm,在装夹和加工过程中会导致工件装夹变形和加工变形,无法保证内孔、外圆和端面工艺尺寸及形位公差, 即使分多序加工,也较容易导致加工变形,产品合格率比较低。若最后一序精加工用加工中心加工,在装夹过程中容易导致工件装夹变形,且效率低下,成本较高,不适用于批量加工。无论是车削还是铣削,都要进行粗、精加工,需多套工装,且工装夹具皆为手动夹紧,效率低下且费时、费力。
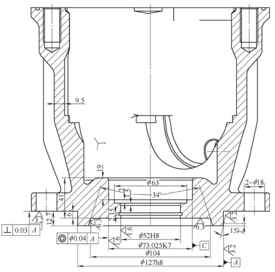
工件的加工难点在于薄壁壳体(壁厚<10mm),工件相对较大(见图2),内腔为异形腔体,毛坯为铸件。在装夹过程中容易变形,且加工端部图样尺寸要求严格,公差不易保证。如何做到既能控制工件在装夹时的变形量,将粗、精车安排在同一工序,又能快速地实现定位和夹紧,严格保证图样尺寸和加工的稳定性,成为工艺设计方案构思的出发点。
将工件定位于车序加工,减少装夹次数,最好将粗、精车于一序加工,实现工件的自动装夹,以此为出发点去设计制作工艺装备,最终设计制作出符合要求的工装夹具。用该工装装夹,粗、精车图1所示尺寸,一序完成加工,然后以该序加工后的子口进行定位,在加工中心上加工另一端的其他项目。
该工装通过内部多点液压撑紧,调整液压压力,调整撑紧力,控制变形量,进行车序加工,能够保证产品加工图样要求。加工精度高、效率高,能够很好地满足设计要求,保证加工面工艺要求。它可应用于所有普通数控车床,有很强的适用性。液压夹具结构如图3所示。

图1 工件尺寸

图2 加工后工件三维图
对产品毛坯进行装夹,由端盖、浮动定位板、弹簧和紧定螺钉组成浮动角向定位装置,对工件进行角向定位,毛坯下端顶靠在支撑钉上,在略小于毛坯内腔直径1~2mm的定位块的作用下,对工件进行粗定位。由连接体、支撑体、活塞杆、O形密封圈、挡圈、顶杆和弹簧构成密封腔,在该密封腔内充满液压油,活塞杆在卡盘驱动轴的推动下,压缩液压油,推动顶杆向外移动,安装在顶杆上的支撑钉顶紧壳体内腔壁;与此同时,心补偿型标准卡盘在卡盘驱动轴的推动下,两卡爪进行自定心对工件夹紧,为减少夹持变形,在夹紧爪上安装可更换齿块,减少与毛坯的接触面。在顶杆和夹紧爪的共同作用下,夹具对毛坯进行圆心定位和夹紧。加工完成后,机床主轴带动卡盘驱动轴回拉,夹紧爪回收,放松对工件的夹持,活塞杆在矩形弹簧的作用下进行复位,伴随腔内油压降低,在弹簧的作用下,顶杆缩回,将工件从夹具上取下,完成工件的装卸。
在夹紧和松开的整个过程中,均是通过液压驱动自动装夹,实现了自动装卸。实物如图4所示。
而这些数据却为新技术的应用提供了丰富的原始素材,通过对海量数据的整理和学习,从数据延伸为模型,进而形成病虫害自动识别、统计分析、可视化趋势、预测预报等功能系统,最终实现对病虫害的智能化分析和精准预测,彻底实现科学、绿色防控,为宏观决策提供科学依据。
该工艺装备应注意的事项主要为液压夹紧力的调试。心补偿型标准卡盘安装在设备主轴上,通过心补偿型标准卡盘上的卡盘驱动轴与设备主轴液压缸连接在一起,机床提供液压力,推拉卡盘驱动轴,从而使过渡爪进行移动,通过上述夹紧原理进行装夹和松开。为防止工件装夹变形,可适时调整卡盘液压夹紧力。经过多次调试液压夹紧力,最终将夹紧力调整在0.8~1.0MPa范围内,能保证工件装夹不变形或加工后工件变形小,各项尺寸和形位公差均控制在图样要求范围内。
赛努奇人物画收藏趣味倾向的形成与赛努奇本人以及整个欧洲所具有的西方文化基因与背景密切相关,他们对中国绘画所体现的中国文化、历史内容更感兴趣,收藏的趣味正是以“他者”的眼光来观照中国文化的结果。绘画在西方汉学家与收藏家的眼中更多的是历史文化的窗口,满足他们对异域异质文化的向往与探求之心。就赛努奇所藏人物画所反映的趣味来看,其所体现的情节性和东方文化的内涵,正是西方以同构的方式来了解和认识中国文化的表现。
由于本设计采用新结构,优化了整个夹具结构,使加工工艺得到很大的改善。应用该夹具装夹,事实证明可大大提高加工工件的形状和位置精度以及尺寸稳定性,大大提高工件的合格率。并且自动化装夹起到了省力、节约时间的效果。
该夹具方案为以后的夹具设计提供了一种新的思路,通过简易的设计结构,实现快捷的自动夹紧,其低投入成本和夹具加工的便捷性,为后续工装夹具的设计提供 了全新的参考。
(9)人类工程活动指标。贯穿全区的公路等交通设施,对灾害影响较大,最能代表人类工程活动。所以人类工程活动的量化是将公路设施经栅格化和归一化处理后,参与评价(图3i)。
参考文献:
[1] 杨叔子.机械加工工艺师手册[M].北京:机械工业出版社,2001.

图3 液压夹具结构
1.浮动定位块 2.紧定螺钉 3、21.弹簧 4.端盖 5.支撑块 6.支撑钉 7.齿块 8.夹紧爪 9.支撑底座10.矩形弹簧 11.盖 12.连接体 13.心补偿型卡盘 14.支撑体 15.内六角圆柱头螺钉 16.过渡爪 17.O型圈18.挡圈 19.活塞杆 20.顶杆 22.密封圈 23.产品毛坯

图4 夹具及装夹