专注高端智能装备一体化服务
认证证书
【爱游戏(中国)机械】激光打标机在汽车零配件中的工艺应用

【爱游戏(中国)机械】激光打标机在汽车零配件中的工艺应用.

汽车制造生产中,激光打标机在在汽车零部件方面的运用非常广泛,从车身车架、轮毂轮胎、各种五金部件、座椅中控、方向盘仪表盘、玻璃、内饰、照明等,到配套的车用油

Read More..
【爱游戏(中国)机械】磨削技术发展及关键技术

【爱游戏(中国)机械】磨削技术发展及关键技术.

1磨削技术发展概述一般来讲,按砂轮线速度Vs的高低将磨削分为普通磨削(Vs<>高速高效磨削、超高速磨削在欧洲、美国和日本等一些工业发达国家发展很快,如德国的Aach

Read More..
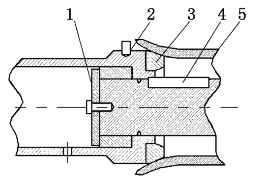
【爱游戏(中国)机械】高效无心外圆磨与普通外圆磨有什么不同

【爱游戏(中国)机械】高效无心外圆磨与普通外圆磨有什么不同.

▌ 普通外圆磨削普通外圆磨削如下图所示,利用工件两端的顶尖孔,把工件支承在磨床的头架及尾座顶尖间,磨削时工件在主轴带动下作旋转运动,砂轮作横向进给。普通外圆

Read More..
【爱游戏(中国)机械】无压痕折弯技术及模具应用

【爱游戏(中国)机械】无压痕折弯技术及模具应用.

折弯模具是钣金加工成形的主要工艺装备,随着工程机械、汽车、船舶、航空航天、电器仪表和建筑装潢等行业的发展,国内外钣金加工企业对钣金制品的成形精度、形状复

Read More..
【爱游戏(中国)机械】工件的定位与定位基准的 选择

【爱游戏(中国)机械】工件的定位与定位基准的 选择.

机械加工中,为了保证工件的位置精度和用调整法获得尺寸精度时,工件相对于机床与刀具必须占有一正确位置,即工件必须定位。而工件装夹定位的方式有:直接找正、划线

Read More..
【爱游戏(中国)机械】薄壁管零件数控车削加工工艺研究

【爱游戏(中国)机械】薄壁管零件数控车削加工工艺研究.

金属薄壁管零件具有结构紧凑、重量轻及节省材料等特点,在生产中得到广泛应用。由于零件壁薄、强度弱、刚性差,加工中很容易变形,质量难以保证。“变形管”是典型的

Read More..
【爱游戏(中国)机械】工装、夹具、检具设计概要及要点

【爱游戏(中国)机械】工装、夹具、检具设计概要及要点.

设计目的 工装、夹具、检具是为提高机械产品批生产的效率及保证机械产品的质量稳定性,从而达到降低产品生产成本的目的。因此工装、夹具、检具的设计制造要无条件

Read More..
【爱游戏(中国)机械】半导体行业都有哪些设备

【爱游戏(中国)机械】半导体行业都有哪些设备.

众 所周知,半导体作为最重要的产业之一,每年为全球贡献近五千亿美金的产值,可以毫不夸张的说,半导体技术无处不在。俗话说:巧妇难为无米之炊,硅晶圆作为制造半导体

Read More..
【爱游戏(中国)机械】有了机器人帮助 手术问题似乎变得简单了起来

【爱游戏(中国)机械】有了机器人帮助 手术问题似乎变得简单了起来.

随着科学技术的发展,医生们在现代外科手术这个领域设置了一个大目标:提高手术的安全系数,同时减轻给病患带来的伤害。要达到这个目标,确实有难度。但是有了机器人

Read More..
【爱游戏(中国)机械】磨床加工问题解决方案

【爱游戏(中国)机械】磨床加工问题解决方案.

一、影响磨床加工表面粗糙度的因素及其改善措施(1)与磨削砂轮有关的因素。主要是砂轮的粒度、硬度以及对砂轮的修整等。砂轮的粒度越细,则砂轮单位面积上的磨粒数

Read More..