专注高端智能装备一体化服务
认证证书
【爱游戏(中国)机械】ALD技术在未来半导体制造技术中的应用

【爱游戏(中国)机械】ALD技术在未来半导体制造技术中的应用.

由于低温沉积、薄膜纯度以及绝佳覆盖率等固有优点,ALD(原子层淀积)技术早从21世纪初即开始应用于半导体加工制造。DRAM电容的高k介电质沉积率先采用此技术,但近来

Read More..
【爱游戏(中国)机械】臭氧在医药工业中的应用

【爱游戏(中国)机械】臭氧在医药工业中的应用.

一、臭氧在医药工业中的应用 (一)医药工业获得无菌药品生产环境的方法,大致可分为两大类: 灭菌:利用加热(干热、湿热)、化学药剂熏蒸(如甲醛、环氧乙烷等消毒剂)、

Read More..
【爱游戏(中国)机械】臭氧加过滤消毒设备

【爱游戏(中国)机械】臭氧加过滤消毒设备.

臭氧加过滤消毒设备废水来源及水量本项目所处理的废水为核酸检测实验、病原微生物等实验室综合废水,污水中通常含有无机类污染物有硫酸、硝酸、盐酸、烧碱、铬、锌

Read More..
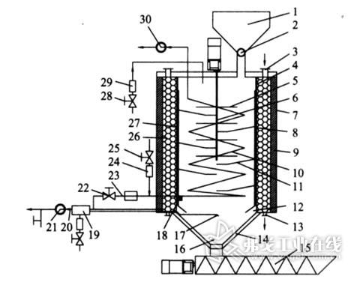
【爱游戏(中国)机械】几种常用热风炉的结构与特点分析

【爱游戏(中国)机械】几种常用热风炉的结构与特点分析.

热风炉是用于气流干燥、喷雾干燥、流化干燥、塔式干燥、隧道干燥以及回转干燥等装置的主要辅助设备,也是温室及家畜饲养场加温的主要设备,广泛地应用于农业生产、

Read More..
【爱游戏(中国)机械】内燃加热式生物质气化炉设计

【爱游戏(中国)机械】内燃加热式生物质气化炉设计.

引言近年来,生物质气化技术得到很快的发展,多种形式的气化炉被开发出来,这些气化炉分为固定床气化炉和流化床气化炉两类。固定床气化炉分为下吸 式、上吸式、横吸

Read More..
【爱游戏(中国)机械】污水处理知识篇之污泥干化技术

【爱游戏(中国)机械】污水处理知识篇之污泥干化技术.

1、干化工艺中产品温度意味着什么?污泥是一种高有机质含量的超细粉末,污泥干燥的目的首先在于减量、卫生化。无论对于哪种处置方法,污泥干化本身并不会改变污泥的

Read More..
【爱游戏(中国)机械】干燥器的分类与选择方法

【爱游戏(中国)机械】干燥器的分类与选择方法.

干燥物料目的在生产中进行干燥的意义在于怎样干燥才能使所需经费降为最低。物料的形态千差万别,原始形态主要有液状、浆状、糊状、滤饼、湿粉粒状、各种条状和块状

Read More..
【爱游戏(中国)机械】生化仪器之试剂存在的问题及解决办法

【爱游戏(中国)机械】生化仪器之试剂存在的问题及解决办法.

全自动生化分析仪试剂存在的问题及解决办法:1  优质的仪器用水优质的仪器用水是使用好检验试剂的一个十分重要的环节之一。因为测定离子类项目:比如铜、铁、锌、钙

Read More..
【爱游戏(中国)机械】临床生化检测系统携带污染的分析与处理策略

【爱游戏(中国)机械】临床生化检测系统携带污染的分析与处理策略.

临床生化检测系统是指生化分析仪、校准品、试剂和检验程序的组合。国外实验室多采用配套(封闭)检测系统对病人标本进行检验,即生化分析仪、校准品、试剂和检验程序

Read More..
【爱游戏(中国)机械】生化免疫分析系统携带污染的评估与解决方案

【爱游戏(中国)机械】生化免疫分析系统携带污染的评估与解决方案.

目的:探讨检验科常用化验设备的的携带污染以及解决方案。方法:化学发光设备以罗氏e 602和博科BKI4200进行对比验证,全自动生化分析仪以AU5800和BK-1200进行对比分

Read More..