专注高端智能装备一体化服务
认证证书
【爱游戏(中国)机械】成功的药厂规划设计包含哪些影响因素?

【爱游戏(中国)机械】成功的药厂规划设计包含哪些影响因素?.

随着生物产业与现代生物技术的迅速发展,功能蛋白质分离纯化、生物技术新药中试等已成为现代生物制药工程的关键技术。生物科技产业是庞大及繁复的,相关联产业项目

Read More..
【爱游戏(中国)机械】浅谈BFS无菌灌装生产线

【爱游戏(中国)机械】浅谈BFS无菌灌装生产线.

目前BFS 技术是公认的节能、环保,产品附加值高的无菌工艺——BFS 无菌灌装生产线在无菌药品,无菌功能性食品和无菌化妆品生产中都得到了很好的应用。本文简要介绍

Read More..
【爱游戏(中国)机械】钻床、铣床、车床、组合等典型夹具大盘点

【爱游戏(中国)机械】钻床、铣床、车床、组合等典型夹具大盘点.

一、钻床夹具钻床夹具的明显特点是设有引导钻头的钻套,钻套安装在钻模板上,习惯上将钻床夹具称为“钻模”。(一)钻模的主要类型及其结构特点 根据工件上被加工孔的

Read More..
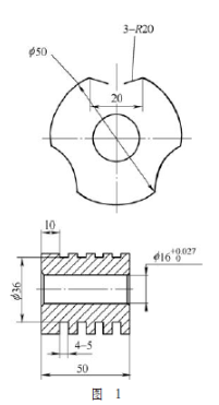
【爱游戏(中国)机械】以车代铣圆弧车床夹具的设计

【爱游戏(中国)机械】以车代铣圆弧车床夹具的设计.

某产品零件轴套( 汽车尼龙齿轮中的镶件),圆周分布3处R20mm圆弧,如图1所示。该圆弧在尼龙齿轮工作时可防止轴套转动,以往加工该圆弧多采用铣床,将零件夹在分度头上

Read More..
【爱游戏(中国)机械】号称最难切削材质的高温合金,被这五种武器攻克了

【爱游戏(中国)机械】号称最难切削材质的高温合金,被这五种武器攻克了.

高温合金是典型的难加工材料,甚至可以说是各种难切削材料中最难切削的材料。其难加工主要表现在刀具切削加工时切削温度高、切削力大、加工硬化现象严重、刀具易磨

Read More..
【爱游戏(中国)机械】加工复合材料时应注意的四大问题

【爱游戏(中国)机械】加工复合材料时应注意的四大问题.

现在的复合材料广泛的应用到了我们生活中的方方面面,尤其是航空航天工业,一些超精密的机械行业!因为复合材料往往都有着我们日常普通材料所不拥有的像材料的刚度、

Read More..
【爱游戏(中国)机械】浅谈整体成型工艺

【爱游戏(中国)机械】浅谈整体成型工艺.

制造碳纤维、芳纶纤维、蜂窝芯等复合材料具有重量轻,耐高温,破损安全性高,机械强度、边缘强度好,耐化学腐蚀等特性,今天正被广泛地应用到许多领域,如航空、航天、

Read More..
【爱游戏(中国)机械】适用于薄壁件加工的真空柔性夹具设计

【爱游戏(中国)机械】适用于薄壁件加工的真空柔性夹具设计.

0  引言真空夹具在薄壁件的加工中应用广泛,如SCHMALZ(施迈茨)公司设计的真空装夹系统,适合底部平整、面积较大的金属薄壁件加工。针对薄壁结构件如飞机蒙皮的装夹

Read More..
【爱游戏(中国)机械】金属加工表面粗糙度6大解读

【爱游戏(中国)机械】金属加工表面粗糙度6大解读.

1、粗糙度的概念零件经过加工后,由于刀具、积屑瘤和鳞刺等给工件表面造成或大或小的波峰与波谷。这些峰谷的高低程度很小,通常只有放大才能看见。这种微观几何形状

Read More..
【爱游戏(中国)机械】外圆车削、端面车削、内孔车削,刀具选用指南!

【爱游戏(中国)机械】外圆车削、端面车削、内孔车削,刀具选用指南!.

(一)外圆车削普通外圆车削是对零件的外圆表面进行加工,获得所需尺寸形位精度及表面质量。普通外圆车刀按照刀具主偏角分为95°、90°、75°、60°、45°等,90°、95°主偏

Read More..