专注高端智能装备一体化服务
认证证书
【爱游戏(中国)机械】电气自动化开关柜 一二次设备融合的关键技术

【爱游戏(中国)机械】电气自动化开关柜 一二次设备融合的关键技术.

开关柜的主要作用是在电力系统进行发电、输电、配电和电能转换的过程中,进行开合、控制和保护用电设备。开关柜内的部件主要有断路器、隔离开关、负荷开关、操作机

Read More..
【爱游戏(中国)机械】不懂PLC如何修理自动化设备?

【爱游戏(中国)机械】不懂PLC如何修理自动化设备?.

懂不懂PLC和自动化设备的修理没有很大的关系,设备的维修一般有机械和电气方面的。那与PLC有关的肯定是电气这块的,常见的电气故障有电气元件,如中继、接触器的触点

Read More..
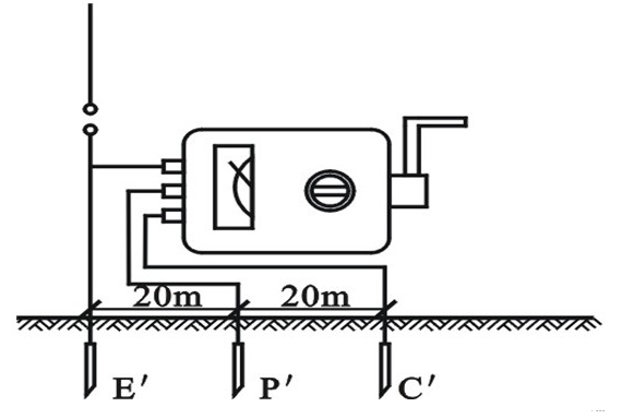
【爱游戏(中国)机械】接地电阻测量仪使用方法

【爱游戏(中国)机械】接地电阻测量仪使用方法.

接地电阻测量仪(接地摇表)是用于接地电阻测量的专用仪表。常用的接地电阻测量仪主要有ZC-8型和ZC-29型等几种。  ZC-8型测量仪由手摇发电机、电流互感器、滑线电阻

Read More..
【爱游戏(中国)机械】高精度电感,电容测量仪原理,电路图及制作方法

【爱游戏(中国)机械】高精度电感,电容测量仪原理,电路图及制作方法.

高精度电感,电容测量仪原理,电路图及制作方法这个电路不同国家和地区很多人制作过,测量精度高,测量范围大,有用不同语言写的程序,我作了一个BASCOM-AVR版本的,并增

Read More..
【爱游戏(中国)机械】表面处理工艺——真空电镀

【爱游戏(中国)机械】表面处理工艺——真空电镀.

真空电镀:Vacuum Metalizing,即是物理气相沉积(PVD),即在真空下将原子打到靶材表面上达到镀膜的目的。最早运用于光学镜片,如航海望远镜镜片,后来随着技术的改进,

Read More..
【爱游戏(中国)机械】MEMS加速度传感器在胎儿心率检测中的应用

【爱游戏(中国)机械】MEMS加速度传感器在胎儿心率检测中的应用.

随着可穿戴智能设备的发展,特别是医疗可穿戴智能设备,主要依靠的是微型化的各种MEMS陀螺仪、加速度传感器等的运用,主要用来检测到穿戴者的身体各项信息。例如,下

Read More..
【爱游戏(中国)机械】监护仪的分类

【爱游戏(中国)机械】监护仪的分类.

1.根据监测参数分: 单参数监护仪:如血压监护仪、血氧饱和度监护仪、心电监护仪等。 多功能、多参数综合监护仪:可同时监护心电1.根据监测参数分:            单参

Read More..
【爱游戏(中国)机械】凸轮机构的原理及动态展示

【爱游戏(中国)机械】凸轮机构的原理及动态展示.

凸轮机构是由凸轮、从动件和机架三个基本构件组成的高副机构。凸轮是一个具有曲线轮廓或凹槽的构件,一般为主动件,作等速回转运动或往复直线运动。从动件:与凸轮轮

Read More..
【爱游戏(中国)机械】详解变压器的类型及其结构、参数

【爱游戏(中国)机械】详解变压器的类型及其结构、参数.

变压器的种类很多,可按其用途、结构、相数、冷却方式等不同来进行分类。1、 按用途分类:有电力变压器、特种变压器(电炉变、整流变、工频试验变压器、调压器、矿用

Read More..
【爱游戏(中国)机械】激光器的工作原理

【爱游戏(中国)机械】激光器的工作原理.

现代很多领域中都使用了激光器,激光器在很多设备中都发挥着核心作用。今天我们一起学习一下激光器的工作原理。1.光与物质的三种相互作用根据量子力学,原子中的电

Read More..